首页>聊城频道>内容详情

从2000万激增到15亿!聊城这家国企或有大动作

2025-04-24 11:46:57 大字体 小字体 扫码带走
打印
山东商报·速豹新闻了解到,聊城市国兴城乡开发集团有限公司(下称“聊城国兴”)于2025年2月21日完成重大工商信息变更,其注册资本由2000万元大幅增至15亿元,增幅达7400%。
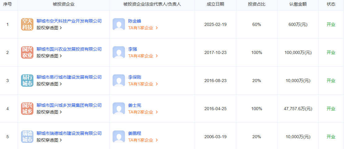
公开信息显示,聊城国兴成立于2019年09月19日,注册地位于山东省聊城市开发区东城街道,现法定代表人为姜士宪。该公司当前注册资本15亿元经营项目包括土地整治服务、不动产登记代理服务、园区管理服务、养老服务、房地产评估、智能农业管理、、市政设施管理、酒店管理、软件开发、停车场服务等。该公司现由聊城市人民政府国有资产监督管理委员会100%持股。
截至目前,聊城国兴共对外投资五家公司。其中,聊城市空天科技产业开发有限公司较具代表性。该公司成立于2025年02月19日,注册地位于山东省聊城经济技术开发区东城街道,法定代表人为陈金峰,注册资本1,000万(元),经营范围包括信息技术咨询服务、地理遥感信息服务、智能农业管理、云计算装备技术服务、智能无人飞行器销售、农作物病虫害防治服务、外卖递送服务等。自2017年10月投资聊城市国兴农业发展投资有限公司后,该公司是聊城国兴时隔八年后最新的一家对外投资公司。

 

速豹新闻网·山东商报编辑:于大龙